【发布者 : 张强】
【浏览量 : 18501】

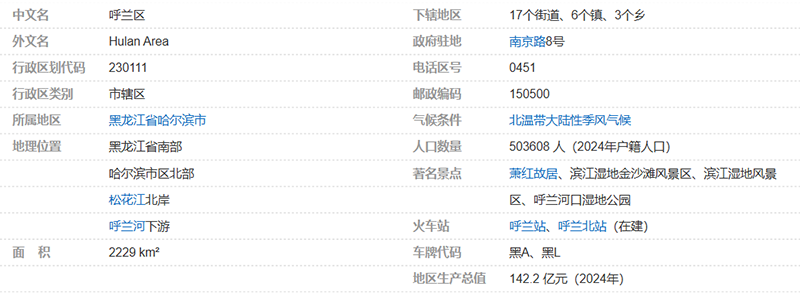
被誉为“江省邹鲁”、“满洲谷仓”的呼兰区,隶属于黑龙江省哈尔滨市,位于黑龙江省南部、哈尔滨市区北部、松花江北岸、呼兰河下游,东滨漂河、少陵河与巴彦县为邻,东南与道外区、宾县隔松花江相望,南与松北区接壤,西濒呼兰河与松北区相邻,西北濒泥河与兰西县为邻,北及东北以泥河、大荒沟为界与绥化市、巴彦县毗邻,总面积2229平方千米。
截至2024年末,呼兰区户籍总人口50.3608万人,户籍人口城镇化率38.7%。地区生产总值142.2亿元,其中,第一产业实现增加值32.2亿元,第二产业实现增加值25.1亿元,第三产业实现增加值84.9亿元。三次产业结构为22.7:17.6:59.7。
2025年8月,呼兰区辖17个街道、6个镇、3个乡。

备受瞩目的“冰城四季·哈尔滨呼兰河国际文旅综合体”项目,将引进加拿大易建数字科技有限公司重新启动开发。这一综合性文旅巨擘的落成,标志着哈尔滨在深化“冰雪文化之都”内涵、拓展全季全域旅游格局上迈出了里程碑式的一步,将为国内外游客带来一场跨越四季、融合传统与现代的沉浸式北国风情盛宴。

项目坐落于历史底蕴深厚、自然风光旖旎的呼兰河畔,总规划面积广阔,旨在打破哈尔滨旅游“冬季独秀”的传统印象,打造“春赏花、夏避暑、秋观景、冬玩雪”的四季全时旅游目的地。综合体深度融合呼兰河生态资源、地域文化基因与国际前沿休闲理念,精心规划打造一个超越季节限制,集生态保护、自然教育、运动休闲与文化体验于一体的国际化湿地滨水文旅标杆。

“冰城四季·哈尔滨呼兰河国际文旅综合体”的建成运营,不仅将为哈尔滨增添一个世界级的文旅新名片,有力推动地方经济增长与产业结构升级,更通过文化的创造性转化与创新性发展,向世界生动讲述新时代的哈尔滨故事。预计项目将吸引大量国内外客流,成为辐射东北亚的重要旅游枢纽,引领哈尔滨文旅产业进入全季繁荣、全域联动的新篇章。